Posiadamy w ciągłej sprzedaży części zamienne, takiej samej jakości jakie stosujemy w produkowanych kosiarkach.
Sposób zamawiania części
W wysłanym do producenta lub punktu sprzedaży zamówieniu należy każdorazowo podać:
- dokładny adres zamawiającego,
- dokładny adres wysyłkowy (miejsce odbioru części),
- dokładną nazwę rysunku,
- numer części podany na rysunku,
- liczbę sztuk zamawianej części,
Warunki płatności dostawy należy każdorazowo uzgodnić z producentem lub punktem sprzedaży kosiarek.
Możliwy jest:
- odbiór bezpośredni części,
- wysyłka pocztą za zaliczeniem pocztowym (drobne części),
- wysyłka za pośrednictwem firm spedycyjnych (większe części lub zespoły).

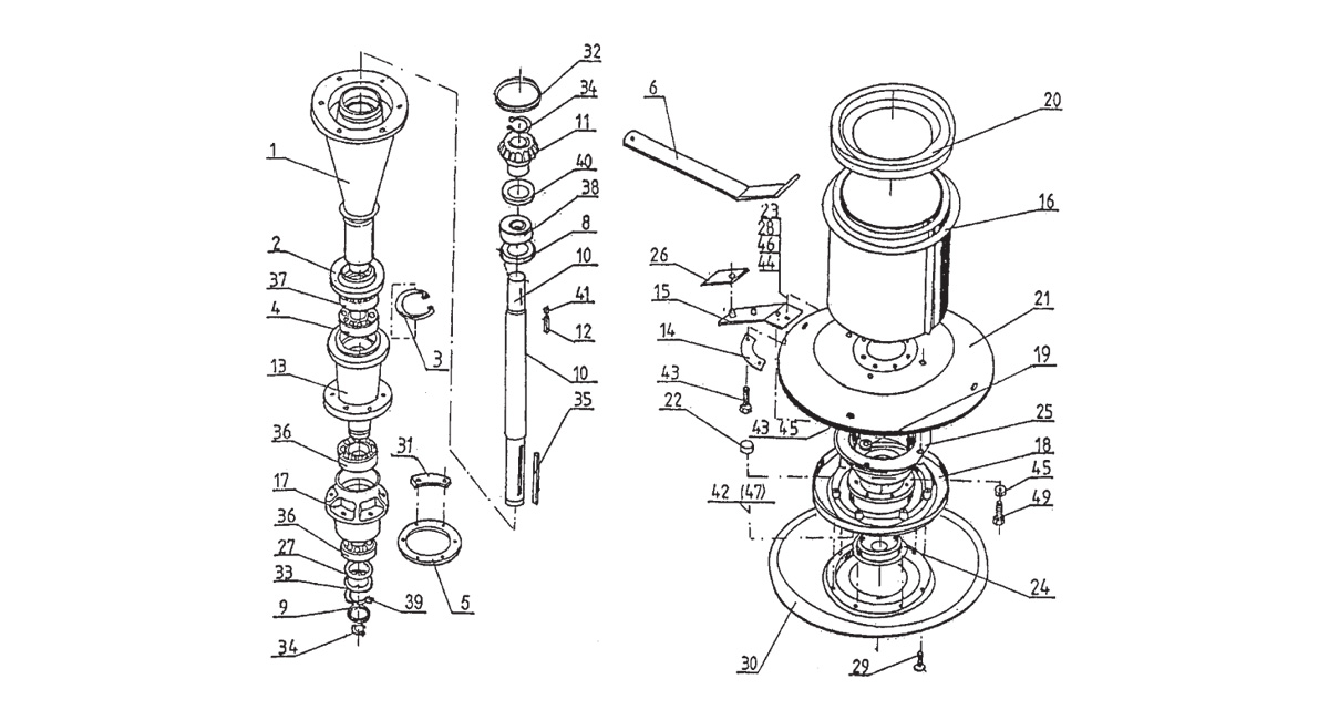
Rysunek K1. Korpus ramy głównej i napęd zespołów tnących

Rysunek K2. Zespół tnący i łożyskowania

Rysunek K3. układ napędu i belka środkowa

Rysunek K4. Układ zawieszenia
